S-PT-4-EX-24DC - Surge protection device

| Kategorie: Leták / Datasheet  | Tento dokument chci!

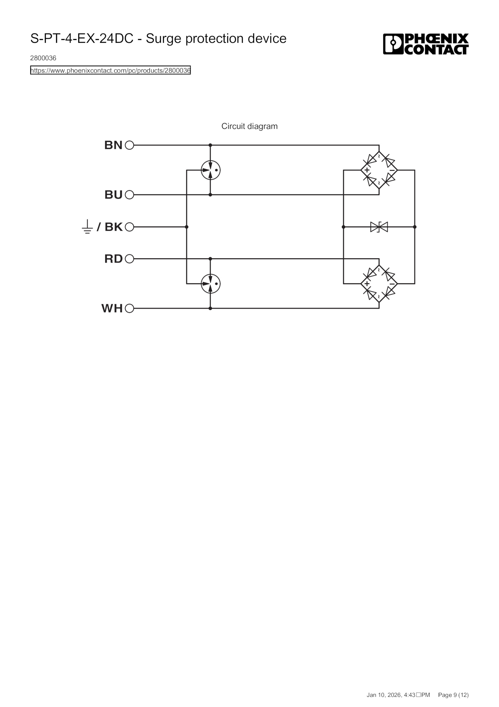
Two-stage surge protection for three or four signals of floating signal circuits in the screw-onmodule with IP67 degree of protection for ...

Vydal: PHOENIX CONTACT, s.r.o.

Strana 9 z 12







Poznámky redaktora
phoenixcontact.com/pc/products/2800036 Jan 10, 2026, 4:43 Page (12) .Circuit diagram BN RD BU / BK WH + + – – ˜ ˜ ˜ ˜ S-PT-4-EX-24DC Surge protection device 2800036 https://www