Pojistkové lištové odpínače a pojistkové lišty ABB INLINE (EN+CZ)

| Kategorie: Katalog  | Tento dokument chci!

... typy XLBM / XUBM 160...1250A / 400...690V. In Line je nová výrobková řada lištových pojistkových odpínačů a pojistkových lišt pro montáž na ploché přípojnice s roztečí 185mm. Jsou určeny pro nožové pojistkové vložky dle DIN 43620, IEC /EN 60269-2-1 a lze s nimi bezpečně spínat a ...

Vydal: ABB s.r.o, ELSYNN Autor: ABB

Strana 64 z 318







Poznámky redaktora
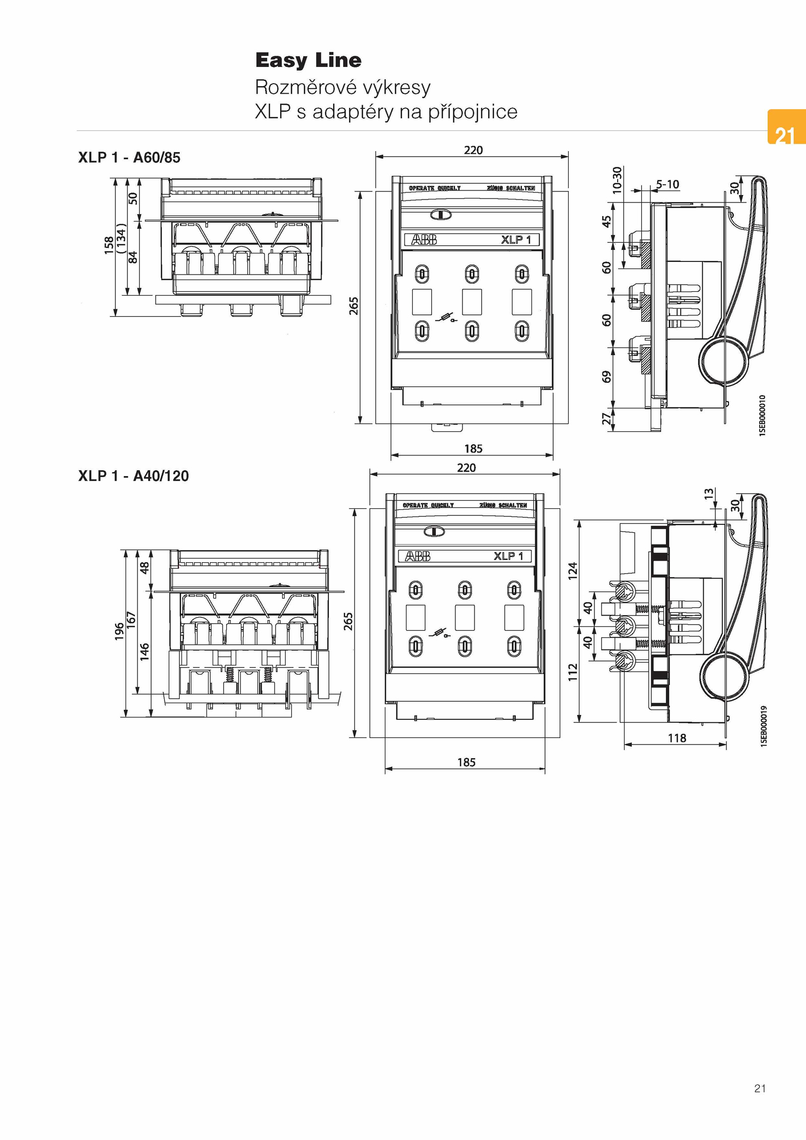
Easy Line Rozměrové výkresy XLP adaptéry přípojnice 121 21